现代六轮消防机器人问世1000℃高温火场替人冲锋

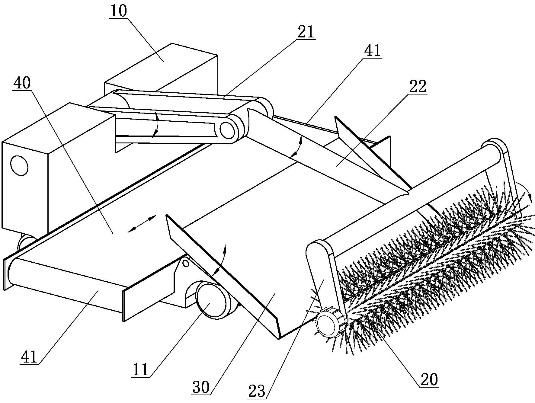
韩国消防员即将迎来一款六轮自动冷却自主机器人搭档,这款由现代集团研发的无人驾驶地面平台,基于军用底盘改造,外形酷似科幻电影中的机械巨兽,将大幅提升消防员在高危场景中的安全性。机器人搭载的消防水炮可替代传统武器系统,既能喷水灭火,又能在搜救时照亮黑暗区域;同时配备热成像传感器,可穿透浓烟探测环境。现代集团表示,这款亮红色“巨兽”将率先进入危险区域灭火,并为消防员规划安全逃生路线。
现代集团在新闻稿中指出:“通过替代人类应对危险场景,这款机器人最终将保护消防员和市民的生命安全。”
消防是至关重要却极具危险性的职业。现代集团引用韩国国家消防局数据显示,过去十年间,韩国共有1788名消防员在执行任务时伤亡;美国国家消防协会数据显示,仅2024年就有62名消防员在出警时牺牲。即使幸免于难,有毒烟雾和坠落物也会给消防员及被困人员造成严重伤害。
这款无人驾驶消防机器人正是为解决这些痛点而生:它采用自动驾驶平台,无需人员即可进入危险区域;能在人类无法承受的极端高温环境中作业,其自我喷淋冷却系统可持续喷水降温,即使在1000°F(约538℃)以上的火场,也能将自身外部温度维持在122-140°F(约50-60℃)。
这款机器人(更像是移动坦克)最高时速可达31英里(约50公里),其底盘设计使其能攀爬60%的坡度,可轻松进入地下停车场、仓库坡道等复杂地形。每个车轮配备独立防水电机模块,避免在恶劣环境中故障。除灭火功能外,其水炮还可作为强力光源,为进入建筑的消防员照亮路径;顶部的AI视觉摄像头能穿透浓烟,实时为消防员规划最优路线。
目前已有两个韩国消防站正在测试这款机器人,现代集团已捐赠两台设备,另外两台即将交付。韩国国家消防局代理局长李承龙表示:“这款机器人的真正价值不仅在于耐热性或灭火能力,更在于它作为‘物理AI’在真实灾难现场的作用。在消防员无法进入的极端环境中,它将收集实战数据并持续学习,发展为成熟的灾难响应平台。”
尽管未披露单台成本,现代集团的这款机器人已成为消防科技的重要突破。事实上,全球多地已在探索机器人消防应用:洛杉矶消防局2020年开始测试低技术含量的消防无人机;现代旗下波士顿动力的Spot四足机器人也已投入部分消防任务。
以黎战事局势(4月17日)最新动态:美国总统特朗普宣布重要消息,以色列总理内塔尼亚胡发声表态,黎巴嫩发表正式声明
美国总统特朗普16日宣布,黎巴嫩与以色列于当天17时(北京时间17日5时)起实施为期10天停火,并邀请两国领导人访美。以色列同意停火但表示不会从黎南部撤军,黎巴嫩称停火前提是以色列彻底停止敌对行动。在临时停火生效前,双方仍在持续交火,本轮冲突已致黎方2196人死亡。
涉案7800万元!深圳海关破获特大走私黄金出境案,抓获犯罪嫌疑人11名:国内黄金原料价格低,首饰制作工艺精湛,转手利润相当可观
日前,广东深圳海关缉私局通报,成功破获一起空港旅检渠道特大走私黄金出境案,共抓获犯罪嫌疑人11名,查证涉嫌走私的黄金及其制品130千克,案值7800万元。
随着白银价格波动含银废旧医用胶片身价倍增不少小区周边出现了专门回收旧胶片的商贩一摊贩在菜市场旁回收CT胶片有人称两个多月回收上万张废胶片真能炼银?
1个动作深度开髋‼️ 有经验的练习者可以把这个动作安排到你日常的练习当中! 可以帮助你解锁脚挂脖的高级体式✅ 初学者也可以练习:视频里提到了,臀不能落地,就双手撑地保持练习,同样是钻石式开髋! #瑜伽体式分享 #瑜伽小知识 #宋宋瑜伽 #开髋 #髋外旋
今年流行真皮女士凉鞋女款新款夏天中跟大码女鞋一字带粗跟时尚厚底妈妈鞋#时尚 #美出高级感 #谁穿谁好看
深圳一男子因病离世,生前立遗嘱打印签字录视频,留给母亲100万没分遗产给弟弟,母亲和弟弟不服遗产分配后起诉,法院判了
男子因病离世,亲属不服遗产分配,对簿公堂!A先生离世后,其母亲D女士与其弟E先生不满遗嘱分配,起诉B女士、小A,主张房产、车辆、股权等遗产应由二人继承,要求在A先生遗嘱之外多分财产。
广东一女子向弟弟借用近百万元,买下800余克黄金,要寄给“军官男友”,警方紧急上门花四小时劝下
“杀猪盘”是一种典型的电信网络诈骗手法。诈骗分子会花费数周、数月与受害人培养感情,最后骗取受害人钱财。近日,居住在深圳市宝安区的李女士(化名)便遭遇了此类骗局。
深圳适龄未婚青年基数庞大,婚介需求旺盛。记者近期接获报料称,部分婚介机构以“高端匹配”“高成功率”为噱头,从各大平台引流、推销婚介服务,甚至诱导消费者贷款来购买“高价”婚介服务,服务费用从数万元至数十万元不等。
核心能量概述:从思考者到行动者的蜕变对巨蟹座来说,2026年4月的能量在于勇于担当自己的人生领袖。你正从思考和计划阶段过渡到更加注重行动的阶段,宇宙正在轻推你,让你不再低估自己,开始像自己故事的主角一样去行动。整个四月,巨蟹座都在反思与行动的拉扯中,迎来属于自己的关键转折点。
本周重点星象周一火海合、金木半拱周三水天半拱、水星进入白羊座周五火冥半拱、水海合周日水冥半拱星座小剧场场景:周五下午的例会白羊座主管被火海合+火冥半拱双重加持,站起来拍桌子:“下个月,咱们要拿下行业第一!”会议室安静。水瓶座员工翻了个白眼:“预算呢?”白羊座主管愣住。
拿出手机扫一扫