安徽博道申请一种道路除冰雪机器人专利提高路面除雪除冰效率
发布时间:2026-04-22 00:39:51点击量:

国家知识产权局信息显示,安徽博道安全科技有限公司申请一项名为“一种道路除冰雪机器人”的专利,公开号CN 121047229 A,申请日期为2025年10月。
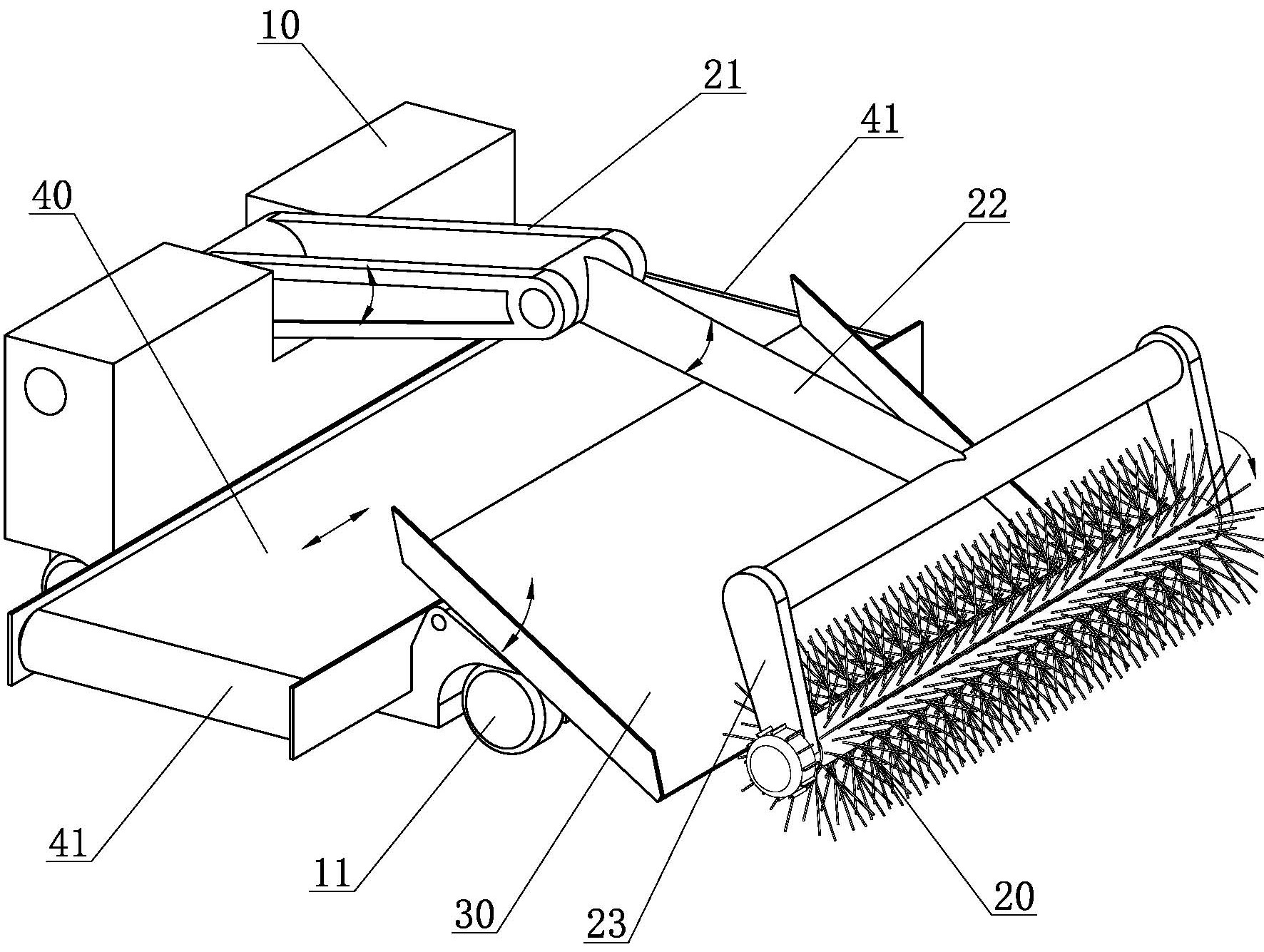
专利摘要显示,本发明涉及道路除冰雪技术领域,具体为一种道路除冰雪机器人,包括车底架和用于装盛融雪剂的储存箱,储存箱安装在车底架的上方后侧,车底架前侧设有铲推机构,车底架下方位于铲推机构和储存箱之间设有清扫机构,清扫机构上集成式设有抛雪机构;通过铲推机构能将积雪推铲收集并输送至清扫机构内,清扫机构用于将残留积雪扫送收集,抛雪机构用于将积雪倾斜抛送至道路一侧;储存箱后侧设有破冰注剂机构,储存箱的侧部设有牵引机构。本发明通过铲推机构推铲收集路面积雪并输送至清扫机构,清扫机构扫送残留积雪的同时,联动牵引机构驱动破冰注剂机构往复升降,破冰注剂机构在冰冻层上破冰形成凹陷区,并导注融雪剂进行除冰,提高路面除雪除冰效率。
天眼查资料显示,安徽博道安全科技有限公司,成立于2020年,位于合肥市,是一家以从事科技推广和应用服务业为主的企业。企业注册资本50万人民币。通过天眼查大数据分析,安徽博道安全科技有限公司共对外投资了4家企业,此外企业还拥有行政许可1个。
声明:市场有风险,投资需谨慎。本文为AI基于第三方数据生成,仅供参考,不构成个人投资建议。
拿出手机扫一扫